Профиль EUROKRAAB потолочный (2м)
Профиль EuroKRAAB Потолочный это дизайнерское решение для сочетания плоскости потолка со стеной, при котором оставляется правильный, ровный теневой зазор. Благодаря такому методу на стене остаётся правильный, ровный теневой зазор, создаётся ощущение, словно потолок парит в воздухе, совершенно не касаясь стен. Благодаря теневому зазору финишная отделка стен (поклейка обоев, покраска и др.) может выполняться уже после установки натяжного потолка. Это существенно упрощает и облегчает алгоритм последовательности при отделке, и позволяет снизить риски порчи стен. Кроме того, в дальнейшем, освежать отделку на стенах существенно проще благодаря именно такому зазору.
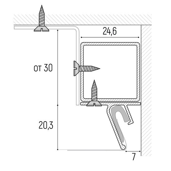
Новинка на рынке натяжных потолков – профиль потолочный EUROKRAAB. Высота профиля всего 2 см!!! Это революционный профиль для сочетания плоскости потолка со стеной, при котором остается правильный, ровный теневой зазор. Такая особенность профиля позволяет создавать "эффект парения", что смотрится очень стильно и оригинально. Технологический зазор также станет незаменимым решением и при покраске или оклейке стен и позволит произвести эти процессы без снятия полотна.
Отзывы не найдены
